◇ 高强度高韧性特殊合金钢锻造而成,经过热处理。
◇ 与EN818-2标准80级链条配合使用。
◇ 逐件按工作拉力的2.5倍进行磁粉探伤。
◇ 抽样进行20000次疲劳测试。 ◆ Breakage test 对每一批次产品进行严格的抽样破断测试
◇ 100% 进行磁粉探伤
◇ 所有销轴进行100%测试,确保相同的硬度品质。
◇ 表面处理:喷塑
◇ 色号:红色 RAL3020 / 黄色 RAL1003.
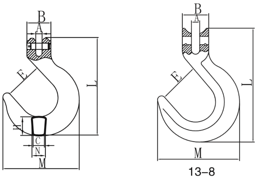
SLR237-80级羊角大开口角

破断拉力是工作拉力的4倍
常规标记:10-8 WLL3.15T CE SLR + BATCH NUMBER(批号)